Distributore specializzato in sistemi di sicurezza fisica ed elettronica
Progettazione impianti di chiusura - Serrature di ogni marca e tipo

Catalogo      

 

HOME PAGE
I CLIENTI DICONO DI NOI
CATALOGO
MARCHE
L'AZIENDA
DOVE SIAMO
CONTATTACI
INFORMATIVA PRIVACY
 


    Chiamaci
    026070293


    Fax
    026886075


    Scrivici


    Trovaci

 

Lucchetti

Lucchetti VIRO

MARE

Lucchetti VIRO  MARE Lucchetti VIRO  MARE
Articolo Misura del corpo mm.
A x B x E
Luce arco mm. C-F Diametro
arco mm. D
371 30 x 27 x 13 15 - 15,7 5
373 40 x 32 x 15 20 - 23 6
LUCCHETTI MARE ARCHI LUNGHI: a volte non serve un lucchetto più grande, ma lo stesso lucchetto con l'arco più lungo.
Articolo Misura del corpo mm.
A x B x E
Luce arco mm. C-F Diametro
arco mm. D
375 40 x 32 x 15 40 - 23 6
377 50 x 40 x 17 55 - 30 8

CILINDRICI

SERIE 100: chiave estraibile solo a lucchetto chiuso - 2 scrocchi di chiusura in acciaio, non in asse.

Lucchetti VIRO  MARE
Articolo Misura del corpo mm.
A x B
Luce arco mm. C-F Diametro
arco mm. D
102 50 x 27 25 - 25 8
103 60 x 30 31 - 30 10
104 70 x 33 35 - 38 12
377 50 x 40 x 17 40 - 38 14
 
201 25 x 17 11 - 12 4
202 30 x 18 12 - 13,5 5
203 40 x 25 20 - 22 6

SERIE 200: 2 scrocchi di chiusura in ottone (eccetto art. 201).

PANZER

Lucchetti VIRO  MARE
Articolo Misura del corpo mm.
A x B x E
Ampiezza allog. occhioli mm. 0 catena mm. F x C Diametro
asta di chiusura
mm. D
4115 62 x 51 x 23 20 x 10 10
4116 77 x 62 x 29 27 x 12 12
4117 86 x 72 x 29 36 x 20 12
 
4125 78 x 51 x 23 10 x 10 10
4126 86 x 62 x 29 11,5 x 12 12

ASTE DI CHIUSURA INDIPENDENTI: gli art. 4125-4126 sono l'unico prodotto sul mercato con 2 aste di chiusura indipendenti, pertanto sono perfettamente integrabili alle catene sia tecnicamente che esteticamente e sono consigliati in tutte le situazioni in cui si debbano fermare 2 lati, uno fisso e l'altro mobile.

RETTANGOLARI

Lucchetti VIRO  MARE Lucchetti VIRO  MARE
Articolo Misura del corpo mm.
A x B x E
Luce arco
mm. F x C
Diametro
arco
mm. D
298 20 x 20 x 10 11,5 - 9,5 3,5
299 25 x 25 x 12 14 - 13,5 4
301 30 x 27 x 13 15 - 15,7 5
302 40 x 32 x 15 20 - 23 6
303 50 x 40 x 17 28 - 30 8
304 60 x 46 x 20 35 - 35 10
305 70 x 51 x 23 42 - 38 12

LUCCHETTI RETTANGOLARI ARCHI LUNGHI: a volte non serve un lucchetto più grande, ma lo stesso lucchetto con l'arco più lungo.

Articolo Misura del corpo mm.
A x B x E
Luce arco
mm. F x C
Diametro
arco
mm. D
308 20 x 19 x 11 20 - 11 3,5
311 30 x 27 x 13 30 - 15,7 5
311,40 30 x 27 x 13 40 - 15,7 5
311,64 30 x 27 x 13 64 - 15,7 5
312 40 x 32 x 15 40 - 23 6
312,64 40 x 32 x 15 64 - 23 6
312,90 40 x 32 x 15 90 - 23 6
313 50 x 40 x 17 48 - 30 6
313,64 50 x 40 x 17 64- 30 8
313,90 50 x 40 x 17 90 - 35 8
314,64 60 x 46 x 20 64 - 35 10
314,90 60 x 46 x 20 90 - 35 10
315,90 70 x 51 x 23 90 - 38 12

MORSO e SUPERMORSO

Lucchetti VIRO  MARELucchetti VIRO  MARE
Lucchetti VIRO  MARE
Articolo Misura del corpo mm.
A x B x E
Luce arco
mm. F x C
Asta di chiusura
mm. D
42,31.500 64 x 33 x 17 10 x 8,2 7,5
4239.500 74 x 40 x 24 11 x 9 9,5

E' possibile fissare la catena al lucchetto con un perno in acciaio inox.

Lucchetti POTENT

Lucchetti a campana per serrande - Nuova serie 2600.09

Lucchetti POTENT  a campana per serrande

  • Lucchetto a campana con cilindro a profilo europeo intecambiabile con camma a norma DIN;
  • Misura cilindro interno utilizzabile 30-10mm., con camma scentrata a sinista;
  • Campana a base di acciaio inox;
  • Perfetta intercambiabilità con la maggioranza dei mezzi cilindri in vendita;
  • Compatibilità completa con i prodotti distribuiti 2600 - 2600OC e con i prodotti concorrenti disponibili sul mercato;
  • Prodotto vendibile solo ed esclusivamente con mezzo cilindro a profilo universale in dotazione;
  • Tappo a scatto opzionale a richiesta, non incluso nella confesione standard.

Lucchetti da viaggio con dispositivo TSA

Lucchetti da viaggio con dispositivo TSA
Lucchetti da viaggio con dispositivo TSA
Il dispositivo TSA (dispositivo di sicurezza USA) permette al personale aeroportuale di esaminare il contenuto del vostro bagaglio senza forzare il vostro lucchetto.

Lucchetti di sicurezza SEA LINE brevettato

Lucchetti resistenti all'acqua e alla polvere Lucchetti resistenti all'acqua e alla polvere
Lucchetti resistenti all'acqua e alla polvereLucchetti resistenti all'acqua e alla polvere.
  • Arco in acciaio inox e corpo in ottone massiccio rivestiti in PVC a completa protezione dall'acqua anche in ambienti marini;
  • corpo in ottone trafilato massiccio;
  • chiusura automatica a scatto;
  • molle in acciaio inox e bronzo fosforoso.

Articolo

A

L

D

S

900.38

40

23

8

26

5

140

12

C40

901.38

40

54

8

26

5

150

8

C40

900.48

50

30

9

30

5

230

8

C40

901.48

50

54

9

30

5

240

8

C40

 

Lucchetti CISA

Lucchetti in acciaio

Lucchetti CISA in acciaio

Il massimo della sicurezza nella gamma di lucchetti CISA

Lucchetti CISA in acciaio

Arco in acciaio cementato con trattamento di nichelatura chimica.

CISA lucchetti in acciaio
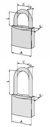
Articolo
A
C
D
L
S
28050 55
55
25,0
11,0
25,0
25,0
28050 56
55
25,0
11,0
45,0
25,0
28050 57
55
26,0
11,0
65,0
25,0
28050 70
70
31,0
14,0
25,0
26,0
28050 71
70
31,0
14,0
45,0
26,0
28050 72
70
31,0
14,0
65,0
26,0
Chiave estraibile solo ad arco chiuso
CISA lucchetti in acciaio
Articolo
A
C
D
L
S
28850 66
66
20,0
10,0
11,0
25,0
28850 67
66
18,0
14,0
17,5
28,0
28850 75
75
27,0
12,0
13,5
28,0
28850 84
84
36,0
12,0
17,5
28,0
28850 85
84
36,0
14,0
17,5
28,0

 

Lucchetti MARINE

Lucchetti CISA MARINE
Lucchetti CISA MARINELucchetti CISA MARINE
Articolo
A
C
D
L
S
Arco normale
26020 30
30
17,0
5,0
17,0
14,5
26020 40
40
24,0
6,0
23,0
16,5
26020 50
50
29,5
8,0
27,5
17,5
26020 60
60
35,0
10,0
37,5
20,0
Arco lungo
26021 40
40
24,0
6,0
40,0
16,5
 

Lucchetti in ottone

Lucchetti CISA ia combinazione

CISA Lucchetti in ottone

Linea di lucchetti per tutti gli utenti che chiedono sistemi di sicurezza affidabili e versatili ad un prezzo vantaggioso.

Articolo
A
C
D
L
S
Arco normale
22010 15
15
8,5
3,0
11,0
9,0
22010 20
20
12,0
3,5
13,0
12,5
22010 25
25
13,5
4,5
15,0
12,5
22010 30
30
17,0
5,0
17,0
14,5
22010 40
40
24,0
6,0
23,0
16,5
22010 50
50
29,5
8,0
27,5
17,5
22010 60
60
35,0
10,0
37,5
20,0
22010 70
70
40,0
12,0
44,0
23,0
Arco lungo
22011 20
20
12,0
3,5
22,0
12,5
22011 30
30
17,0
5,0
24,0
14,5
22011 31
30
17,0
5,0
65,0
14,5
22011 40
40
24,0
6,0
40,0
16,5
22011 41
40
24,0
6,0
63,5
16,5
22011 50
50
29,5
8,0
80,0
17,5
22011 52
50
29,5
8,0
127,0
17,5




Inteco S.a.s. - Piazza Dergano 9 - 20158 Milano - Tel. (+39) 02 6070293 - Fax (+39) 02 6886075 - email info@intecosas.com - P.I. 10225850154

©2010 INTECO sas - tutti i diritti riservati - Sitedesign:   - webmaster: